datos técnicos sobre el manejo de acoplamientos

Acoplamiento ECHT-FLEX Serie NER

En este documento se describe el manejo general de ECHT-FLEX. Para obtener más información, consulte manuales de instrucciones que se adjunta al producto.

1. Instalación del cubo en el eje

Precauciones

  • *1 Compruebe los componentes de acoplamiento con la lista de componentes del manuales de instrucciones.
  • *2 La unidad central viene preensamblada de fábrica. Úsela tal cual, sin desmontarla.
  • *3 No aplique fuerzas excesivas, especialmente en dirección axial, a la unidad central. Esto podría provocar que el disco se deforme, lo que afectaría su rendimiento.

Procedimiento de instalación

  • (1) Compruebe que no haya rebabas, arañazos, suciedad, óxido, etc. en el eje de transmisión, el eje conducido y el diámetro interior del cubo, y limpie cualquier suciedad o aceite.
  • (2) Fije los bujes a cada eje. Para ajuste a presión, caliente los bujes uniformemente con aceite caliente (a menos de 150 °C) y fíjelos rápidamente a las posiciones designadas en los ejes.
  • (3) Para la dimensión cara a cara de la brida del cubo, consulte la siguiente sección, "2. Centrado (1) Ajuste de la dimensión cara a cara de la brida (J)."

2. Centrado

Cuanto mayor sea la precisión de centrado inicial del acoplamiento, menores serán las tensiones rotacionales excéntricas que se generarán durante su uso.

El desgaste de los cojinetes, el asentamiento de la superficie de instalación, los cambios en las condiciones debidos a la temperatura, los cambios durante el uso debidos a la vibración, etc., acortarán la vida útil de sus equipos y acoplamientos.

Por favor, ajústelo periódicamente siguiendo los pasos que se indican a continuación.

Centrado

El error dimensional de la cara de la brida, la desalineación angular admisible y la excentricidad de un acoplamiento están correlacionados, y a medida que uno aumenta, el otro disminuye; por lo tanto, deben considerarse simultáneamente.

Asegúrese de centrarlo inicialmente en el valor recomendado a continuación.

(1) Ajuste de la dimensión cara a cara de la brida (J)

Mida la longitud total de la unidad central y utilice este valor como dimensión J.
(Dependiendo de la combinación de tolerancias de los componentes, la longitud total de la unidad central puede ser mayor o menor que el valor estándar. En ese caso, incluso si el cubo se coloca dentro de J±0,5 mm de las dimensiones estándar del dibujo, puede resultar difícil ensamblar la unidad central).

Mida la dimensión J en cuatro puntos cada 90 grados y ajuste la posición del cubo de manera que el valor promedio se encuentre dentro de J ± 0,5 mm. Si el eje motriz o el eje conducido es escalonado, el margen de ajuste puede ser limitado; por lo tanto, asegúrese de que la dimensión J se pueda ajustar con antelación.

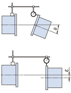
(2) Ajuste del ángulo de declinación (θ)

  • (a) Fije el comparador a uno de los cubos como se muestra en la figura, gire el cubo para encontrar la lectura mínima en el comparador y ajústelo a cero.
  • (b) Gire el centro del dial 360 grados y lea el valor de declinación.
  • (c) Ajuste el dispositivo moviéndolo con calzas u otras herramientas de manera que la lectura del indicador de cuadrante se encuentre dentro del rango de los valores de declinación recomendados en la Tabla 1.
Ajustar el ángulo de desviación (θ)

(3) Ajuste de excentricidad (ε)

  • (a) Coloque un comparador de carátula en la brida del cubo como se muestra en la figura, gire el cubo para encontrar la lectura mínima en el comparador de carátula y ajústelo a cero.
  • (b) Gire el cubo que está fijo con el comparador de carátula 360 grados y lea el valor de excentricidad.
  • (c) Puede haber una desviación anormal en la periferia exterior del cubo, en la zona del orificio perforado. Esto se debe a que la brida se abombó hacia afuera durante el mecanizado de dicha zona; por lo tanto, realice la lectura evitando esta parte.
  • (d) Ajuste el equipo moviéndolo usando calzas u otros medios de manera que la lectura del indicador de cuadrante esté dentro del doble del valor de excentricidad recomendado en la Tabla 1 o la Tabla 2.
  • (e) Si se mueve el equipo para ajustar la excentricidad, ajuste nuevamente la declinación.
Ajustar el ángulo de declinación (ε)
Tabla 1. Valores de centrado recomendados/separadores estándar
Número de modelo Valor de centrado recomendado
Declinación Excentricidad
ε [mm]
Brida
Dimensiones cara a cara
J [mm]
θ
[deg]
T.I.R.
[mm]
NER59W 0.35 0.33 0.18 ±0.5
NER93W 0.35 0.39 0.22 ±0.5
NER230W 0.25 0.31 0.18 ±0.5
NER360W 0.25 0.36 0.22 ±0.5
NER630W 0.25 0.43 0.22 ±0.5
NER850W 0.25 0.48 0.25 ±0.5
Tabla 2. Valores de centrado recomendados/separador largo
Número de modelo Valor de centrado recomendado
Declinación excentricidad
(Fórmula de cálculo)
ε [mm]
Brida
Dimensiones cara a cara
J [mm]
θ
[deg]
T.I.R.
[mm]
NER59W 0.35 0.33 (J-44.4)×0.31×10-2 ±0.5
NER93W 0.35 0.39 (J-50.6)×0.31×10-2 ±0.5
NER230W 0.25 0.31 (J-58.8)×0.22×10-2 ±0.5
NER360W 0.25 0.36 (J-70.0)×0.22×10-2 ±0.5
NER630W 0.25 0.43 (J-76.4)×0.22×10-2 ±0.5
NER850W 0.25 0.48 (J-86.6)×0.22×10-2 ±0.5

Relación entre declinación y excentricidad

Relación entre declinación y excentricidad

3. Instalación de la unidad central

  • (1) Consulte el diagrama de componentes en manuales de instrucciones e instale la unidad central en el cubo.
    Instalación de la unidad central

    Figura 1. Instalación de la unidad central

    Hay marcas de alineación (líneas) en dos lugares (en un lado) en la periferia del cubo y en la periferia de la unidad central.

    Asegúrese de que estén en fase.

    La unidad central no tiene direccionalidad, por lo que se puede instalar mirando hacia la izquierda o hacia la derecha.

  • (2) Asegure el cubo y la unidad central con los pernos de posicionamiento y los pernos de cabeza hexagonal.

    Asegúrese de insertar el tornillo de posicionamiento (el tornillo con la cabeza verde) en el orificio perforado donde se encuentra la marca (línea) de alineación. No encajará en ningún otro orificio.

    Los pernos de posicionamiento (pernos con cabezas verdes) se utilizan en dos lugares a cada lado, simétricamente en ángulos de 180° (cuatro lugares por acoplamiento).

    Inserción de pernos de posicionamiento y pernos de cabeza hexagonal

    Figura 2. Inserción del perno de posicionamiento y del perno de cabeza hexagonal

    Asegúrese de apretar los pernos de posicionamiento y los pernos de cabeza hexagonal al "Par de apriete para pernos de posicionamiento y pernos de cabeza hexagonal" en la Tabla 3.

    Tabla 3. Par de apriete para pernos de posicionamiento y pernos de cabeza hexagonal
    Número de modelo Tamaño del perno Par de apriete
    [Nuevo Méjico]
    NER59W M6 14
    NER93W M6 14
    NER230W M6 14
    NER360W M8 34
    NER630W M10 67
    NER850W M10 67
  • (3) Una vez finalizado el montaje, retire la placa de protección del disco de la sección del disco.
    placa de protección del disco

    En total hay cuatro placas de protección de disco, dos a cada lado.

4. Inspección

Vuelva a comprobar la declinación y la excentricidad después de 1-2 horas de funcionamiento.

En ese momento, vuelva a apretar los pernos de posicionamiento y los pernos de cabeza hexagonal al par especificado en la Tabla 3.

Además, revise cada seis meses o un año para asegurarse de que no haya anomalías en las piezas y que los pernos de posicionamiento y los pernos de cabeza hexagonal no estén flojos.

Recomendamos marcar los pernos de posicionamiento, los pernos de cabeza hexagonal y los bujes después de la instalación para comprobar si están flojos.

Compruebe que no haya anomalías en otras partes.