datos técnicos actuador lineal Linispeed Jack Carga admisible en voladizo
Carga admisible en voladizo
Al montar una rueda dentada, engranaje, correa, etc. en el eje de entrada, utilice la siguiente fórmula para comprobar que la carga en voladizo que actúa sobre el eje es inferior a la carga en voladizo admisible.
OHL admisible ≧ T×f×Lf R
OHL: Carretera N en voladizo
T: Par de entrada N·m
f: Coeficiente del elemento de transmisión
Lf: Coeficiente que depende de la posición de aplicación de la carga
R: Radio de la circunferencia primitiva de la rueda dentada, engranaje, polea trapezoidal, etc. m
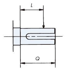
L: Posición de aplicación de carga
P: Longitud del eje
Tabla 2 Coeficiente del elemento de transmisión (f)
| cadena | 1.00 |
|---|---|
| Engranajes, correas dentadas | 1.25 |
| correa trapezoidal | 1.50 |
| Correa plana | 2.50 |
Tabla 1. Carga admisible por voladizo del eje de entrada
| SJ015H | SJ030H | SJ050H | |
|---|---|---|---|
| OHL aceptable (NORTE) |
830 | 1280 | 1760 |
Tabla 3: Coeficiente de carga (Lf) en función de la posición de aplicación de la carga
| L/Q | 0,5 o menos | 0.75 | 1 |
|---|---|---|---|
| Lf | 1 | 1.5 | 2 |
