datos técnicos Manipulación cadena transportadora de gran tamaño

7. Limitaciones de uso

Los límites de uso para cada parte de la cadena transportadora se describen a continuación, por lo que le recomendamos inspeccionar periódicamente cada parte para detectar desgaste.

Este límite de uso se determina en función del rendimiento de la propia cadena transportadora. Si existe un límite de uso para el transportador, úselo como estándar.

Reemplace la cadena y los piñones al mismo tiempo.

7.1 Límites de uso de cada parte

7.1.1 Rodillo R y rodillo F

El límite es cuando la superficie inferior de la placa comienza a entrar en contacto con el riel debido al desgaste de la superficie de contacto y la parte deslizante con el buje.

Límites de Rodillo R/F.

Límites de Rodillo R/F.

Tenga en cuenta que si el riel tiene una sección curva, el margen de desgaste se reducirá en la dimensión equivalente a S como se muestra en el diagrama a continuación.

Tolerancia de desgaste reducida

Tolerancia de desgaste reducida

7.1.2 Rodillo S, M, N

Cuando el espesor del rodillo se reduce al 40% debido al desgaste.

7.1.3 Bujes

Cuando el espesor del buje ha disminuido al 40% debido al desgaste (esto no se puede inspeccionar externamente).

7.1.4 Eje tipo pasador

Cuando el diámetro del pasador se reduce al 85% debido al desgaste (esto no se puede inspeccionar externamente)

7.1.5 Desgaste del espesor y ancho de la placa

El deslizamiento entre las placas y entre el lado del rodillo y el interior de la placa provoca desgaste como se muestra en el diagrama a continuación (izquierda) en AB.

Se considera que la placa ha llegado al final de su vida útil cuando la cantidad de desgaste excede un tercio del espesor normal de la placa.

Además, cuando la placa se desliza directamente sobre el objeto transportado o sobre una placa de acero, como la cadena de un transportador de flujo, la placa llega al final de su vida útil cuando el ancho de placa H se desgasta a aproximadamente 1/8H como se muestra en el diagrama a continuación (derecha).

Desgaste de la placa

Desgaste de la placa

7.1.6 Alargamiento por desgaste de la cadena

La cadena se dobla al engranar con el piñón o en la curva del riel. Esto provoca desgaste debido al deslizamiento de los bujes y pasadores, lo que provoca que la cadena se estire.

El límite de alargamiento para esta cadena es normalmente el 2% de la longitud estándar (paso x número de eslabones) (para un paso de 100 mm, el alargamiento es de 2 mm por eslabón).

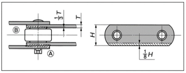
  • 1) Cómo medir la longitud de la cadena
    チェーン長さの測り方

    Mida tantos eslabones pares como sea posible (al menos cuatro eslabones) en el punto tensado como se muestra en el diagrama anterior.

    La medición debe realizarse en la posición (A) o (B).

    (A) De centro a centro de los pasadores

    (B) De un extremo del pasador al otro extremo

  • 2) Tasa de elongación de la cadena (%)

    Mida la longitud de la cadena utilizando el método A o B, compárela con la longitud de referencia y calcule la tasa de elongación de la cadena (%).

    Alargamiento de la cadena = Dimensión medida - Longitud de referencia Longitud de referencia × 100 (%)

7.1.7 Desgaste de la superficie de los dientes de la rueda dentada y desgaste lateral

Si la cadena engrana con una rueda dentada con dientes desgastados, la cadena puede desgastarse más rápido.

Al igual que la cadena, revise los piñones periódicamente.

  • 1) Utilice el diagrama a continuación como guía para el límite de desgaste de la superficie de los dientes de la rueda dentada.

    Desgaste de la superficie del diente

    Desgaste de la superficie del diente

    Desgaste en los lados de los dientes

    Desgaste en los lados de los dientes
  • 2) Si los dientes están desgastados, recomendamos reemplazarlo. Si raíz del diente está desgastada, no lo use al revés.