datos técnicos reductor de tornillo sin fin de tornillo sin fin Especificaciones
Especificaciones estándar de la caja de terminales
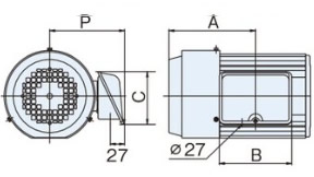
1. Potencia del motor: de 0,1 kW a 0,4 kW [plástico]
| Dimensiones de la terminal | Posición de la caja de terminales | |||||||||||||
|---|---|---|---|---|---|---|---|---|---|---|---|---|---|---|
| Sin frenos | ![]() |
|
||||||||||||
| Con freno | ![]() |
|
2. Potencia del motor: 0,75 kW [placa de acero]
| Dimensiones de la terminal | Posición de la caja de terminales | |||||||||||
|---|---|---|---|---|---|---|---|---|---|---|---|---|
| Sin frenos | ![]() |
|
||||||||||
| Con freno | ![]() |
|
3. Potencia del motor: de 1,5 kW a 2,2 kW [placa de acero]
| Dimensiones de la terminal | Posición de la caja de terminales | ||||||||||||||||
|---|---|---|---|---|---|---|---|---|---|---|---|---|---|---|---|---|---|
| Sin frenos | ![]() |
|
|||||||||||||||
| Con freno | ![]() |
|
4. Potencia del motor: 3,7 kW [placa de acero]
| Dimensiones de la terminal | Posición de la caja de terminales | |
|---|---|---|
| Sin frenos | ![]() |
![]() |
| Con freno | ![]() |
![]() |
5. Potencia del motor: 5,5 kW [placa de acero]
| Dimensiones de la terminal | Posición de la caja de terminales | |
|---|---|---|
| Sin frenos | ![]() |
![]() |
| Con freno | ![]() |
![]() |
dirección de instalación de la caja de terminales
La orientación de montaje de la caja de bornes puede modificarse en incrementos de 90°. Por favor, indíquelo al realizar el pedido.
Como alternativa, los clientes pueden cambiar la dirección de montaje quitando los pernos de montaje del motor y girando el motor.
dirección de salida de la caja de terminales
Se puede modificar en incrementos de 90°.
(El modelo de freno de 5,5 kW no se puede cambiar)
Por favor, indíquenoslo al realizar el pedido.
(Ejemplo: Dirección del puerto del terminal F1)














