datos técnicos Selección de cajas reductoras para biselado a inglete
Si desea consultar los procedimientos de selección y los puntos importantes, continúe a continuación.
Si desea acotar o seleccionar provisionalmente una serie de productos,
Por favor, haga clic aquí.
Si ya se han definido sus condiciones de uso y desea una selección detallada,
Por favor, haga clic aquí.
Selección Caja de cambios ARA
Requisitos para la selección
(1) Par de carga o transmisión (kW) (2) Velocidad de rotación de entrada (3) Relación de velocidad (4) Características de carga (5) Frecuencia de arranque/parada
Procedimiento de selección
Considerando las condiciones necesarias, la selección se realizará de acuerdo con el siguiente procedimiento.
1. Determinación Factor de servicio
Todas tabla de ratio de kW del catálogo son valores cuando Factor de servicio se establece en 1,0.
Determinar Factor de servicio Factor de servicio la Tabla 1 en función de las condiciones de uso.
Tabla 1 Factor de servicio
| Cargar la naturaleza | Tiempo de funcionamiento | ||
|---|---|---|---|
| 2 horas | 10 horas | 24 horas | |
| Carga uniforme | 1.00 (1.00) |
1.00 (1.25) |
1.25 (1.50) |
| Carga con cierto impacto | 1.00 (1.25) |
1.25 (1.50) |
1.50 (1.75) |
| Cargas con grandes impactos | 1.25 (1.50) |
1.50 (1.75) |
1.75 (2.00) |
Nota)
- 1. Si la frecuencia de arranque/parada es de 10 o más veces por hora o si el motor principal es un motor multicilíndrico, utilice los valores entre paréntesis.
- 2. Los Factor de servicio anteriores son directrices generales. Determine los coeficientes teniendo en cuenta las condiciones de uso.
2. Determinación del par corregido o de kW de diseño
Considerando Factor de servicio (Tabla 1), calcule el torque corregido o kW de diseño.
Par corregido o kW de diseño = (par de carga o kW de transmisión aplicados a la serie ARA) x Factor de servicio (Tabla 1)
3. Decidir el formato
- - Seleccione un tamaño que satisfaga el par corregido o kW de diseño a la velocidad de rotación que se utilizará, según tabla de ratio de kW (consulte la página del producto).
Asimismo, compruebe que el par máximo durante el arranque y la parada se encuentre dentro del 200% de la capacidad de transmisión del tamaño seleccionado. - - Determine el número de modelo apropiado en función de la disposición del eje y la relación de rotación indicadas anteriormente.
4. Comprobar la carga radial
Al accionar ruedas dentadas, engranajes, poleas, etc., unidas al eje lateral o al eje transversal, verifique la carga radial utilizando la fórmula siguiente.
・Fórmula de confirmación de carga radial
Carga radial admisible ≧
T × f × Lf
r
(Carga radial admisible)
- T = Par corregido N·m
- f = coeficiente OHL (Tabla 2)
- Lf = Coeficiente de posición de funcionamiento (Tabla 3)
- r = radio de la circunferencia primitiva de la rueda dentada, polea, etc. m
Nota: Si la fórmula de la izquierda no se cumple después de comprobar la carga radial, r, es decir, el radio del círculo primitivo de la rueda dentada, polea, etc., debe aumentarse.
Tabla 2 Coeficiente OHL (f)
| cadena | 1.00 |
|---|---|
| engranaje Correa dentada |
1.25 |
| Correas trapezoidales y correas dentadas de alta resistencia | 1.50 |
Tabla 3 Coeficiente de posición de acción (Lf)
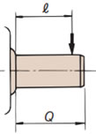
| La carga se encuentra en el centro del eje o Si está más hacia adentro, ℓ ≦ Q 2 |
Lf = 1 |
|---|---|
| La carga se aplica desde el centro del eje. Si está en el exterior ℓ > Q 2 |
Lf = 2ℓ Q |
Q = Longitud del extremo del eje de salida ℓ = Posición donde actúa la carga radial
Nota) Si se aplican simultáneamente una carga radial y una carga axial, por favor contáctenos.
