Preguntas y respuestas Power-Lock
Hemos publicado preguntas frecuentes de nuestros clientes en formato de preguntas y respuestas. Haga clic en la pregunta para acceder a la respuesta.
Palabras en preguntas y respuestasde
Etapa de consideración
Edición de diseño
Entorno circundante
Etapa de reclutamiento
Edición de diseño
| Q20 | ¿Puedo utilizar la serie TF sin espaciador? |
|---|
Manejo
Utilice el escenario
Manejo
Otros

| Q1 | ¿Se puede utilizar Power-Lock en un eje que ya tiene una ranura para chaveta? |
|---|---|
| A1 |
Aunque el par de transmisión y la carga axial se reducirán al 90 % de los valores de catálogo, aún se pueden utilizar. Sin embargo, la serie EL no se puede utilizar en ejes con chaveteros, ya que resultarán imposibles de extraer debido a la deformación del cuerpo principal. Volver a las preguntas |
| Q2 | ¿Pueden Power-Lock soportar momentos de flexión? |
| A2 |
En principio, Power-Lock no pueden soportar momentos de flexión.
|
| Q3 | El eje es corto y Power-Lock sobresale ligeramente del extremo del eje. ¿Puedo usarlo igualmente? |
| A3 |
Debido a que el eje es corto, se aplica una fuerza desigual al anillo interior, etc., lo que provoca que Power-Lock se deforme, por lo que no se puede utilizar.
|
| Q4 | ¿Cuál es el límite admisible de rugosidad superficial del eje y el saliente que entran en contacto con Power-Lock? |
| A4 |
Los valores que figuran en el catálogo a continuación son los límites admisibles, y no se permite un mecanizado más desprolijo. Cuando se genera presión superficial sobre el eje y el saliente, dicha presión aplastará cualquier irregularidad en la superficie, provocando la deformación plástica del eje y el saliente.
|
| Q5 | Estoy pensando en usar Power-Lock en un eje hueco. ¿Hay algún problema? |
| A5 |
En el caso de un eje hueco, se debe considerar el material del eje y el diámetro interior para determinar si el eje hueco es lo suficientemente resistente como para soportar la presión en el lado del eje que se genera cuando se aprieta Power-Lock. |
| Q6 | El catálogo incluye una lista de diámetros de casquillos, pero la nota indica que "no se incluyen los factores de seguridad". ¿Qué es el factor de seguridad? |
| A6 |
Las dimensiones mínimas del diámetro exterior del cubo que soportan la presión superficial generada en la superficie interior del cubo al apretar el perno con el par de apriete especificado (MA) se indican en el catálogo. La presión superficial generada varía en función del par de apriete; por lo tanto, considerando que el error de una llave dinamométrica típica es de aproximadamente ±5%, se debe utilizar un factor de seguridad del 10% o superior. Volver a las preguntas |
| Q7 | Si se utiliza un Power-Lock de la serie sin función de centrado en un saliente sin guía, ¿cuál será la precisión de centrado? |
| A7 |
Es seguro que las fluctuaciones serán extremadamente grandes y las cifras no pueden estimarse ni utilizarse.
|
| Q8 | Un solo Power-Lock no proporciona suficiente par, por lo que me gustaría usar varios Power-Locks en serie. ¿Cuál será el par transmitido en este caso? |
| A8 |
El par de transmisión aumenta, pero la relación varía según la serie.
|
| Q9 | ¿Se pueden utilizar Power-Lock en aplicaciones donde se aplican grandes cargas de impacto, como prensas y maquinaria de construcción? |
| A9 |
Incluso si se aplican cargas de impacto repetidas, el producto se puede utilizar satisfactoriamente siempre que se tenga en cuenta el factor de seguridad y se controle adecuadamente el par de apriete del perno.
|
| Q10 | Power-Lock afirma que "Power-Lock no pueden, en principio, soportar momentos de flexión", pero ¿qué sucede si realmente se aplica un momento? |
| A10 |
Power-Lock aplican una presión superficial uniforme al eje y al saliente en toda su circunferencia para lograr una sujeción por fricción. |
| Q11 | Las Power-Lock de la serie KE cuentan con una función de centrado, lo que permite que diámetro interior del cubo quede recto; sin embargo, la tabla de diámetros de casquillos muestra casquillos con guías. ¿Existen casos en los que sea recomendable instalar una guía? |
| A11 |
Los principales beneficios de ofrecer una sección de guía son los siguientes tres puntos. |
| Q12 | Estoy considerando usar la serie KE, pero diámetro exterior del cubo no es lo suficientemente grande. ¿Existe alguna solución adecuada? Aún así, hay capacidad de torque. |
| A12 |
Le recomendamos considerar la serie KE-LP. Su serie de baja presión de contacto permite un diámetro de casquillo menor. Si esto aún no es suficiente, contáctenos. Volver a las preguntas |
| Q13 | El manual de instrucciones AS-SS indica que aplicar aceite o grasa reduce el par de la transmisión. Dado que la lubricación es necesaria y aplicar aceite no causa deslizamiento, ¿por qué el aceite reduce el par de la transmisión en Serie SS? |
| A13 |
El coeficiente de fricción se puede reducir aplicando aceite tanto al tipo estándar que requiere lubricación como al tipo SUS sin lubricación. |
| Q14 | Para la serie AS, ¿cómo se calcula el diámetro mínimo requerido del cabezal cuando el ancho del cabezal B es de 2ℓ o menos? |
| A14 |
Si el ancho del saliente B es ℓ<B<2ℓ, calcule utilizando factor de geometría del cubo K3=1.0.
|
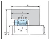
| Q15 | Al seleccionar un AD-N sin guía, ¿ longitud del cubo en la tabla de diámetros de salientes (2) debe ser Lt o mayor? ¿Es aceptable que sea L o mayor? |
| A15 |
No hay ningún problema funcional incluso si es L o más grande, pero la cabeza del perno sobresaldrá del saliente.
|
| Q16 | En el diagrama del catálogo del AD-N montado en un resalte, parece haber un espacio entre el PL y el resalte. (A menos que falte el orificio del resalte). ¿Es necesario un espacio en la parte posterior del orificio? ¿Habrá algún problema si el PL se monta contra la parte posterior? |
| A16 |
No hay problema en colocar Power-Lock contra la parte posterior del saliente en el estado de montaje provisional. Durante la instalación, al apretar el perno, el anillo cónico se moverá, creando un espacio en la parte posterior del orificio. |
| Q17 | Tengo una pregunta sobre la serie RE-SS. ¿Por qué hay una diferencia en el par transmitido con y sin anillo de retención? |
| A17 |
El anillo de retención actúa como la brida del Power-Lock e impide que el casquillo se mueva al apretarlo. |
| Q18 | Si el ancho del saliente es menor que Power-Lock, ¿se puede utilizar? |
| A18 |
Sí, se puede utilizar la serie ML. Sin embargo, dado que la presión superficial generada en el lado del buje será elevada, es necesario calcular la presión en dicho lado (P'k) mediante la siguiente fórmula y verificar que se cumplan la resistencia del material del buje y diámetro exterior del cubo requerido.
|
| Q19 | ¿La serie EL soporta cargas radiales? La serie EL no figura en la tabla de presiones superficiales admisibles de la sección de selección del catálogo. |
| A19 |
Se puede utilizar si la presión superficial admisible (Prad/P) es del 10 % o inferior, según la tabla. La presión en el lado del eje y en el lado del buje variará según las especificaciones del cliente (tamaño, número de pernos, par de apriete, etc.). Volver a las preguntas |
| Q20 | ¿Puedo utilizar la serie TF sin espaciador? |
| A20 |
No se puede utilizar sin espaciador por las siguientes razones. |
| Q21 | Instalé Power-Lock a temperatura ambiente, pero luego tuve que usarlo en un lugar con una temperatura de aproximadamente 180 °C. La diferencia de temperatura es grande, ¿podría esto causar problemas como una disminución del par de transmisión? |
| A21 |
Si el eje y el casquillo están hechos del mismo tipo de acero que Power-Lock, no habrá ningún problema, ya que el eje, Power-Lock y el casquillo se expandirán como una sola unidad. |
| Q22 | ¿Se puede utilizar el Power-Lock de acero inoxidable bajo el agua? |
| A22 |
Se puede usar si un poco de óxido no causa problemas. Incluso bajo el agua, la superficie de contacto de montaje tiene una alta presión superficial, por lo que el agua apenas penetra y no se degrada su rendimiento. |
| Q23 | ¿Puedo aplicar el recubrimiento Raydent a Power-Lock? (Para uso en salas blancas) |
| A23 |
El revestimiento Raydent se desprende, lo que hace que la superficie cónica se vuelva áspera y reduzca el torque de transmisión. Le recomendamos que considere las especificaciones de niquelado electrolítico (KE-KP, AS-KP, AD-N-KP, TF-KP) o las especificaciones de acero inoxidable (KE-SS, AS-SS, RE-SS). |
| Q24 | ¿Existe algún problema al utilizar Power-Lock en un baño de aceite? |
| A24 |
No hay problema si se llena el aceite después de apretar el PL. Sin embargo, si el aceite o la grasa contiene agentes antifricción a base de silicio o molibdeno, o aditivos de extrema presión, evite reutilizarlos. |
| Q25 | ¿Qué ocurre si ensamblo Power-Lock sin utilizar una llave dinamométrica? |
| A25 |
Los pares de transmisión y las cargas de empuje que figuran en el catálogo son valores para un montaje correcto con los pares de apriete especificados. |
| Q26 | ¿Qué sucede si se aprieta un perno por debajo del par de apriete especificado? |
| A26 |
El par de apriete del perno y el par de transmisión de la Power-Lock tienen una relación proporcional. Por lo tanto, si se reduce el par de apriete, el par de transmisión también se reducirá en consecuencia, pero no se recomienda utilizar el perno con un par de apriete reducido, ya que podría aflojarse. |
| Q27 | Durante la instalación, ¿qué partes se deben engrasar o aceitar? |
| A27 |
Debe aplicarse en las superficies de contacto de ejes y protuberancias, anillos cónicos, anillos interiores y exteriores y otras piezas que entran en contacto entre sí, así como en las superficies de asiento y superficies roscadas de los pernos de apriete. |
| Q28 | ¿Qué sucede si una serie que requiere aplicar aceite o grasa a los pernos de apriete se ensambla en estado seco sin aplicar aceite o grasa? |
| A28 |
Si se ensambla sin aplicar aceite, el par de la transmisión puede disminuir en un 20 % o más. Además, los pernos de apriete pueden aflojarse debido a la vibración, etc. |
| Q29 | ¿Está bien colocar una arandela de bloqueo en el perno de apriete para evitar que se afloje? |
| A29 |
Cuando Power-Lock se instala correctamente, no hay que preocuparse por que los tornillos de apriete se aflojen. Sin embargo, si se utiliza una arandela que genera una fuerza de reacción, como una arandela elástica, la fuerza de apriete disminuirá, lo que provocará una disminución de la fuerza axial y del par de transmisión, por lo que no se puede utilizar. |
| Q30 | ¿Qué debo tener en cuenta al manipular la serie AD-N? |
| A30 |
En comparación con otras series, la serie AD-N utiliza un ángulo de conicidad menor para garantizar un par de transmisión elevado. |
| Q31 | Estoy utilizando la Power-Lock de la serie AD-N. Por favor, asesórenme sobre los métodos de montaje, especialmente sobre cómo aplicar el lubricante. |
| A31 |
Consulte el vídeo de nuestro sitio web que explica cómo utilizar las Power-Lock de la serie AD-N. |
| Q32 | Estoy usando Power-Lock TF. Por favor, infórmeme sobre sus características y cómo usarla. |
| A32 |
Consulte el vídeo de nuestro sitio web que explica las características y el manejo de la serie TF Power-Lock. |
| Q33 | Estoy usando la serie EF Power-Lock. Por favor, infórmeme sobre sus características y cómo usarla. |
| A33 |
Consulte el vídeo de nuestro sitio web que explica las características y el funcionamiento de la serie EF Power-Lock. |
| Q34 | ¿Cuántas veces se puede conectar y desconectar Power-Lock? |
| A34 |
Para los modelos que no pertenecen a la serie AD-N, esto se puede hacer unas 10 veces, siempre que Power-Lock no patine y no esté deformado ni dañado. |
| Q35 | ¿Puedo reutilizar un Power-Lock que se haya deslizado? |
| A35 |
Desmonte completamente el producto y compruebe que ninguna de las piezas presente deformaciones ni arañazos. Si no encuentra deformaciones ni arañazos, puede volver a montarlo siguiendo las instrucciones manuales de instrucciones y reutilizarlo. |
| Q36 | ¿Se aflojan alguna vez los pernos Power-Lock? |
| A36 |
Cuando un perno de apriete se aprieta correctamente con el par de apriete especificado (MA), el par de fricción es mayor que el par que lo aflojaría naturalmente, por lo que no hay necesidad de preocuparse de que se afloje. |
| Q37 | ¿Es recomendable no comprobar periódicamente con una llave dinamométrica que los tornillos de apriete Power-Lock estén bien apretados? ¿Podría esto provocar que se rompan? |
| A37 |
No hay problema en comprobar el apriete. Si usa una llave dinamométrica para ajustarlo al par especificado y comprobarlo, no se romperá a menos que esté oxidado. |
| Q38 | ¿Por qué es necesario aplicar grasa a las roscas al desmontar un Power-Lock de la serie AD-N? |
| A38 |
Esto es para evitar el agarrotamiento y el desgaste de las roscas. Sin embargo, evite usar lubricantes que contengan aditivos de extrema presión o agentes antifricción a base de molibdeno, ya que alterarán drásticamente el coeficiente de fricción y podrían dañar el perno. |
| Q39 | ¿Puedo comprar solo los tornillos de apriete para Power-Lock? |
| A39 |
Por favor, especifique "Pernos de apriete para el número de modelo Power-Lock" y solicite a su distribuidor un presupuesto para la cantidad requerida. |
| Q40 | Estoy usando Power-Lock "PL035X060", pero el número de modelo actual es "PL035X060AS". ¿Hay alguna diferencia? ¿Puedo simplemente reemplazarlo por el nuevo modelo? |
| A40 |
Power-Lock "PL035X060" y "PL035X060AS" son idénticos, diferenciándose únicamente en el número de modelo. Si bien las dimensiones se mantienen, algunas especificaciones se revisaron en marzo de 2012, modificándose el par de apriete (solo en algunos tamaños), el par de transmisión, la carga axial, la presión lateral del eje y la presión lateral del casquillo. |
| Q41 | Estoy usando Power-Lock "PL045X075AD", pero el número de modelo actual es "PL045X075AD-N". ¿Hay alguna diferencia? ¿Puedo simplemente reemplazarlo por el nuevo modelo? |
| A41 |
Power-Lock "PL045X075AD" y "PL045X075AD-N" son compatibles en capacidad y dimensiones, pero presentan pequeñas modificaciones. El mecanismo interno se ha mejorado con respecto al modelo AD anterior, facilitando su extracción. Por lo tanto, es posible sustituir el modelo "AD" por el "AD-N". |
