Eslabón de unión cadena transportadora de gran tamaño eslabón con cierre de tornillo

- Con una sola llave dinamométrica, cualquiera puede cortar y conectar de forma fácil, segura y fiable.
- Este enlace permite que cualquiera pueda realizar fácilmente el peligroso y técnicamente exigente cortar y conectar de cadena transportadora de gran tamaño con tan solo una llave dinamométrica.
- Tradicionalmente, cortar y conectar se realizaban con un martillo, pero
- ·peligro
Dado que hay que golpearlo con fuerza con un martillo, existe riesgo de accidentes laborales como la proyección de fragmentos o golpes en las manos. - • Tecnología requerida
Si no se realiza correctamente, la placa exterior puede presionarse demasiado, lo que resultará en una mala flexión. - Las horas de trabajo necesarias afectan a la productividad
Como se mencionó anteriormente, requiere habilidad, por lo que es posible que deba contratar a un técnico. - Se requieren herramientas grandes.
A medida que la cadena se hace más grande, es posible que se requieran herramientas y plantillas de mayor tamaño. - Hubo diversos desafíos, tales como:
- Con eslabón con cierre de tornillo, todo lo que necesita hacer es apretar la tuerca al par especificado utilizando una llave dinamométrica, de modo que cualquiera puede realizar trabajos cortar y conectar de forma fácil, segura, rápida y fiable.
Tabla de contenido
Catálogos y manuales de instrucciones
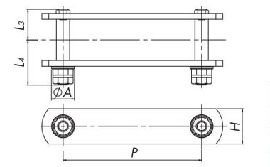
Estructura
Dos tipos de nueces disponibles
También ofrecemos un tipo corto con la longitud del pasador minimizada.
*Hardlock Nut y Hardlock Bearing Nut son marcas comerciales o marcas registradas de Hardlock Kogyo Co., Ltd.
Productos principales aplicables
cadena transportadora de gran tamaño Serie DT
La cadena transportadora de uso general más económica (modelo básico).
cadena transportadora de gran tamaño Serie DTA
En comparación con Serie DT, esta especificación mejora la resistencia al desgaste entre el buje y el rodillo tres veces.
cadena transportadora de gran tamaño Serie AT
En comparación con Serie DT, tiene aproximadamente el doble carga máxima admisible, lo que mejora la resistencia al desgaste entre el buje y el rodillo y la carga permitida en el rodillo.
cadena transportadora de gran tamaño Serie ATA
En comparación con Serie AT, la resistencia al desgaste entre el buje y el rodillo se duplica, la resistencia al desgaste entre el pasador y el buje es 1,5 veces mayor y carga máxima admisible es 1,2 veces mayor.
cadena transportadora de gran tamaño Serie SS
Esta cadena de acero inoxidable posee una excelente resistencia a la corrosión, a los productos químicos, al calor y al frío.
cadena transportadora de gran tamaño Serie GS
Esta es una cadena de acero inoxidable (acero inoxidable serie 400) con resistencia a la corrosión mejorada en comparación con Serie DT.
Consulte a continuación otras especificaciones que se pueden fabricar.
lista de especificaciones aplicables eslabón con cierre de tornillo
Instrucciones de manejo
| ⚠Precaución |
Para transportadores horizontales, inclinados y verticales, antes de cortar o cortar y conectar, utilice un polipasto, alambre, etc., para asegurar que no se aplique tensión a la cadena en cortar y conectar. |
|---|
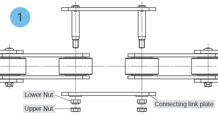
Cómo unirse
1. Retire las tuercas y deje placa de eslabón de conexión retirada.
2. Tire de ambos extremos de la cadena juntos, inserte el eslabón de conexión en la unión enlace interno y luego cúbralo con placa de eslabón de conexión.
3. Apriete la tuerca inferior al par especificado. Al apretarla, asegúrese de limpiar las roscas con un paño para eliminar cualquier resto de aceite u otros residuos.
4. Apriete la tuerca superior al par especificado a continuación para completar la conexión.
Par de apriete de la tuerca (N·m) *1
| RF10 | RF12 | RF17 | RF26 | RF36 | RF52 | RF60 | RF90 | ||
|---|---|---|---|---|---|---|---|---|---|
| Tipo estándar *2 | Tamaño de la tuerca | M12×P1.75 | M12×P1.75 | M14×P2.0 | M16×P2.0 | M20×P2.5 | M24×P3.0 | M27×P3.0 | M30×P3.5 |
| Tuerca inferior | 27~32 | 28~33 | 46~55 | 72~82 | 120~130 | 218~228 | 250~260 | 367~377 | |
| Tuerca superior | 27~32 | 28~33 | 46~55 | 72~82 | 120~130 | 218~228 | 250~260 | 367~377 | |
| Tipo corto *3 | Tamaño de la tuerca | M12×P1.0 | M12×P1.0 | M15×P1.0 | M17×P1.0 | M20×P1.0 | M25×P1.5 | M30×P1.5 | M35×P1.5 |
| Tuerca inferior | 23~27 | 28~33 | 49~58 | 76~86 | 117~127 | 227~237 | 254~264 | 428~438 | |
| Tuerca superior | 16~19 | 16~19 | 28~33 | 37~44 | 55~65 | 80~90 | 115~125 | 130~140 | |
- *1. La tabla anterior muestra el par de apriete para tuercas de acero. Para conocer el par de apriete para tuercas de acero inoxidable, póngase en contacto con nosotros.
- *2. Al apretar la tuerca inferior, el perno sobresaldrá, por lo que recomendamos usar un dado profundo para el tipo estándar.
- *3. La tuerca corta tiene 4 muescas. Utilice una llave de gancho o un dado.
Cómo cortar
- 1. Retire las tuercas en el orden de tuerca superior y tuerca inferior.
*Es posible que la tuerca no se pueda extraer fácilmente debido a la adherencia o corrosión de los artículos transportados. - 2. Retire placa de eslabón de conexión y separe el enlace de conexión enlace interno.
Precauciones de mantenimiento e inspección
Según el entorno y las condiciones de funcionamiento, las tuercas pueden aflojarse o caerse, así que asegúrese de revisarlas periódicamente para comprobar que no estén sueltas mientras la cadena esté en funcionamiento. (Será más fácil comprobarlo si marca las tuercas con un rotulador).
Lista de especificaciones del producto
Tipo estándar
Tipo corto
| Tamaño | carga máxima admisible | Resistencia mínima a la tracción | Paso P |
Pasador | Tamaño de la tuerca | casquillo cónico Diámetro de la brida |
masa añadida aproximada (kg/lugar) |
||||||
|---|---|---|---|---|---|---|---|---|---|---|---|---|---|
| pasador de unión | |||||||||||||
| DT kN{kgf} |
AT kN{kgf} |
DT kN{kgf} |
AT kN{kgf} |
L3 | estándar tipo |
corto tipo |
estándar tipo |
corto tipo |
A | estándar tipo |
corto tipo |
||
| L4 | L5 | ||||||||||||
| RF10100 | 17.6 {1790} |
32.3 {3290} |
107 {11000} |
169 {17000} |
100 | 33 | 48.5 | 42 | M12 | M12 | 25 | 0.13 | 0.08 |
| RF10125 | 125 | ||||||||||||
| RF10150 | 150 | ||||||||||||
| RF12200 | 26.6 {2710} |
39.9 {4060} |
160 {16500} |
249 {25500} |
200 | 40.5 | 55.5 | 49 | M12 | M12 | 28 | 0.17 | 0.11 |
| RF12250 | 250 | ||||||||||||
| RF17200 | 35.0 {3570} |
55.3 {5640} |
213 {22000} |
336 {34000} |
200 | 51.5 | 69.5 | 61.5 | M14 | M15 | 32 | 0.25 | 0.14 |
| RF17250 | 250 | ||||||||||||
| RF17300 | 300 | ||||||||||||
| RF26200 | 44.9 {4570} |
74.3 {7580} |
285 {29000} |
448 {45500} |
200 | 55.5 | 74 | 64 | M16 | M17 | 36 | 0.33 | 0.17 |
| RF26250 | 250 | ||||||||||||
| RF26300 | 300 | ||||||||||||
| RF26450 | 450 | ||||||||||||
| RF36250 | 68.0 {6930} |
97.4 {9930} |
457 {46500} |
614 {62500} |
250 | 66 | 91.5 | 78.5 | M20 | M20 | 42 | 0.55 | 0.26 |
| RF36300 | 300 | ||||||||||||
| RF36450 | 450 | ||||||||||||
| RF36600 | 600 | ||||||||||||
| RF52300 | 71.4 {7280} |
147 {15000} |
481 {49000} |
953 {97000} |
300 | 79 | 110 | 93.5 | M24 | M25 | 48 | 0.85 | 0.39 |
| RF52450 | 450 | ||||||||||||
| RF52600 | 600 | ||||||||||||
| RF60300 | 71.4 {7280} |
149 {15200} |
479 {49000} |
1010 {103000} |
300 | 72.5 | 104 | 86.5 | M27 | M30 | 55 | 1.18 | 0.53 |
| RF60350 | 350 | ||||||||||||
| RF60400 | 400 | ||||||||||||
| RF90350 | 113 {11500} |
233 {23700} |
754 {77000} |
1600 {163000} |
350 | 85.5 | 120.5 | 102 | M30 | M35 | 65 | 1.85 | 0.88 |
| RF90400 | 400 | ||||||||||||
| RF90500 | 500 | ||||||||||||
Nota)
- 1. El rango de temperatura de funcionamiento es de -20 °C a 150 °C. Póngase en contacto con nosotros si desea utilizarlo fuera de este rango de temperatura.
- 2. Las longitudes de los pines L4 y L5 son mayores que L2, por lo que verifique si hay interferencia con el dispositivo.
- 3. Utilice una llave de gancho o un dado para apretar las tuercas cortas.
- 4. Consulte el catálogo "cadena transportadora de gran tamaño Tsubaki" para conocer los tipos de accesorios.
- 5. Es posible que podamos fabricar tamaños (pulgadas, etc.) y especificaciones (acero inoxidable, etc.) distintos a los que figuran en la tabla anterior. Póngase en contacto con nosotros para obtener más información.
Lista de precios y entrega
Serie DT (tipo estándar)
| Tamaño | adjunto | |||||||
|---|---|---|---|---|---|---|---|---|
| ninguno | A2 | K2 | GA2 | |||||
| Precio estándar | Plazo de entrega | Precio estándar | Plazo de entrega | Precio estándar | Plazo de entrega | Precio estándar | Plazo de entrega | |
| RF10100 | Póngase en contacto con nosotros. | Póngase en contacto con nosotros. | Póngase en contacto con nosotros. | Póngase en contacto con nosotros. | Póngase en contacto con nosotros. | Póngase en contacto con nosotros. | Póngase en contacto con nosotros. | Póngase en contacto con nosotros. |
| RF10125 | Póngase en contacto con nosotros. | Póngase en contacto con nosotros. | Póngase en contacto con nosotros. | Póngase en contacto con nosotros. | Póngase en contacto con nosotros. | Póngase en contacto con nosotros. | Póngase en contacto con nosotros. | Póngase en contacto con nosotros. |
| RF10150 | Póngase en contacto con nosotros. | Póngase en contacto con nosotros. | Póngase en contacto con nosotros. | Póngase en contacto con nosotros. | Póngase en contacto con nosotros. | Póngase en contacto con nosotros. | Póngase en contacto con nosotros. | Póngase en contacto con nosotros. |
| RF12200 | Póngase en contacto con nosotros. | Póngase en contacto con nosotros. | Póngase en contacto con nosotros. | Póngase en contacto con nosotros. | Póngase en contacto con nosotros. | Póngase en contacto con nosotros. | Póngase en contacto con nosotros. | Póngase en contacto con nosotros. |
| RF12250 | Póngase en contacto con nosotros. | Póngase en contacto con nosotros. | Póngase en contacto con nosotros. | Póngase en contacto con nosotros. | Póngase en contacto con nosotros. | Póngase en contacto con nosotros. | Póngase en contacto con nosotros. | Póngase en contacto con nosotros. |
| RF17200 | Póngase en contacto con nosotros. | Póngase en contacto con nosotros. | Póngase en contacto con nosotros. | Póngase en contacto con nosotros. | Póngase en contacto con nosotros. | Póngase en contacto con nosotros. | Póngase en contacto con nosotros. | Póngase en contacto con nosotros. |
| RF17250 | Póngase en contacto con nosotros. | Póngase en contacto con nosotros. | Póngase en contacto con nosotros. | Póngase en contacto con nosotros. | Póngase en contacto con nosotros. | Póngase en contacto con nosotros. | Póngase en contacto con nosotros. | Póngase en contacto con nosotros. |
| RF17300 | Póngase en contacto con nosotros. | Póngase en contacto con nosotros. | Póngase en contacto con nosotros. | Póngase en contacto con nosotros. | Póngase en contacto con nosotros. | Póngase en contacto con nosotros. | Póngase en contacto con nosotros. | Póngase en contacto con nosotros. |
Serie AT (tipo estándar)
| Tamaño | adjunto | |||||||
|---|---|---|---|---|---|---|---|---|
| ninguno | A2 | K2 | GA2 | |||||
| Precio estándar | Plazo de entrega | Precio estándar | Plazo de entrega | Precio estándar | Plazo de entrega | Precio estándar | Plazo de entrega | |
| RF10100 | Póngase en contacto con nosotros. | Póngase en contacto con nosotros. | Póngase en contacto con nosotros. | Póngase en contacto con nosotros. | Póngase en contacto con nosotros. | Póngase en contacto con nosotros. | Póngase en contacto con nosotros. | Póngase en contacto con nosotros. |
| RF10125 | Póngase en contacto con nosotros. | Póngase en contacto con nosotros. | Póngase en contacto con nosotros. | Póngase en contacto con nosotros. | Póngase en contacto con nosotros. | Póngase en contacto con nosotros. | Póngase en contacto con nosotros. | Póngase en contacto con nosotros. |
| RF10150 | Póngase en contacto con nosotros. | Póngase en contacto con nosotros. | Póngase en contacto con nosotros. | Póngase en contacto con nosotros. | Póngase en contacto con nosotros. | Póngase en contacto con nosotros. | Póngase en contacto con nosotros. | Póngase en contacto con nosotros. |
| RF12200 | Póngase en contacto con nosotros. | Póngase en contacto con nosotros. | Póngase en contacto con nosotros. | Póngase en contacto con nosotros. | Póngase en contacto con nosotros. | Póngase en contacto con nosotros. | Póngase en contacto con nosotros. | Póngase en contacto con nosotros. |
| RF12250 | Póngase en contacto con nosotros. | Póngase en contacto con nosotros. | Póngase en contacto con nosotros. | Póngase en contacto con nosotros. | Póngase en contacto con nosotros. | Póngase en contacto con nosotros. | Póngase en contacto con nosotros. | Póngase en contacto con nosotros. |
| RF17200 | Póngase en contacto con nosotros. | Póngase en contacto con nosotros. | Póngase en contacto con nosotros. | Póngase en contacto con nosotros. | Póngase en contacto con nosotros. | Póngase en contacto con nosotros. | Póngase en contacto con nosotros. | Póngase en contacto con nosotros. |
| RF17250 | Póngase en contacto con nosotros. | Póngase en contacto con nosotros. | Póngase en contacto con nosotros. | Póngase en contacto con nosotros. | Póngase en contacto con nosotros. | Póngase en contacto con nosotros. | Póngase en contacto con nosotros. | Póngase en contacto con nosotros. |
| RF17300 | Póngase en contacto con nosotros. | Póngase en contacto con nosotros. | Póngase en contacto con nosotros. | Póngase en contacto con nosotros. | Póngase en contacto con nosotros. | Póngase en contacto con nosotros. | Póngase en contacto con nosotros. | Póngase en contacto con nosotros. |
Haga clic aquí para ver una lista de tipos y símbolos de adjuntos.
*Para especificaciones/tamaños no incluidos en la tabla anterior, tipos cortos y productos ensamblados, se proporcionarán presupuestos caso por caso, así que contáctenos.

