Cadena transportadora de gran tamaño
Información del producto Cadena transportadora de gran tamaño
cadena transportadora de gran tamaño se pueden combinar libremente para transportar materiales en cualquier dirección, incluyendo orientaciones horizontales, verticales e inclinadas. Soportan temperaturas de hasta aproximadamente 200 °C sin necesidad de materiales especiales, y para temperaturas más elevadas se utiliza acero resistente al calor. Además, están disponibles en especificaciones que las hacen resistentes a la corrosión y a los productos químicos, lo que las hace idóneas para una amplia gama de aplicaciones.
Se puede transportar prácticamente cualquier material, desde polvos como carbón pulverizado y cemento hasta materiales granulares como trigo y soja, terrones como minerales y rocas, e incluso productos que pesan varias toneladas cada uno, y casi no existen restricciones sobre los materiales que se pueden transportar.
Tabla de contenido
Información relacionada con cadena transportadora de gran tamaño
Estructura
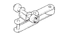
eslabón con cierre de tornillo
Un vínculo de conexión que permite un trabajo seguro y rápido.
Nota: Debido al sistema de tuercas, el pasador es largo. Compruebe que no interfiera con el dispositivo.
*La tolerancia de longitud total para cadena transportadora de gran tamaño es de ±0,25%.
■ ajuste deslizante
Cuando se ensamblan un eje y un agujero, siempre queda un espacio.
Un ajuste en el que el área de tolerancia del orificio está completamente por encima del área de tolerancia del eje (pasador o casquillo).
■ ajuste a presión
Un ajuste que siempre crea una interferencia cuando se combinan el eje y el orificio.
Un ajuste en el que el rango de tolerancia del orificio está completamente por debajo del rango de tolerancia del eje (pasador o buje).
Conozca más sobre los componentes y sus funciones.
| 1. Pin (CP) | 2. Arbusto (B) | |
|---|---|---|
| La función principal de los pasadores es conectar los enlace interno. Al igual que las placas, soportan la tensión de la cadena en la dirección de avance y la fuerza de reacción de la mercancía transportada en dirección perpendicular. Además, cuando la cadena articular, la circunferencia exterior del pasador se desliza contra la circunferencia interior del casquillo, provocando desgaste. Los pasadores son un componente de resistencia importante, pero también deben ser resistentes al desgaste. | El casquillo es un componente de refuerzo que soporta la tensión de la cadena al engranar con el piñón, pero su función principal es la de cojinete. La circunferencia exterior del casquillo se desgasta al deslizarse contra la circunferencia interior del rodillo durante la rotación de este, y la circunferencia interior se desgasta al deslizarse contra la circunferencia exterior del pasador cuando la cadena articular. El desgaste en la circunferencia interior del casquillo se manifiesta directamente como un alargamiento del paso. | |
| 3.Rodillo (RR, FR, SR, MR, NR) | 4. Placas (PLP-A, PLP-B, BLP) | |
| Tiene ajuste deslizante con el buje. Al engranar con la rueda dentada, actúa como un rodillo, mitigando el impacto y el desgaste en la superficie del diente. Además, rueda durante el desplazamiento, reduciendo la resistencia a la rodadura. | Las placas están sometidas principalmente a fuerzas de tracción en la dirección de avance de la cadena y a fuerzas de reacción perpendiculares para soportar la carga transportada. Cuando la cadena articular, las placas exteriores e interiores se deslizan una contra la otra, y cuando engrana con la rueda dentada, se deslizan contra el lateral de los dientes. Generalmente, las placas exteriores tienen orificios redondos o con muescas. | |
| 5. Pasador en T | 6. Adjunto | |
![]() |
Tras ajuste a presión el pasador contra la placa exterior, inserte un pasador en T y dóblelo para evitar que el pasador se salga. Dóblelo más de 30 grados o hasta que el extremo del pasador en T quepa dentro del ancho de la placa. | Esta es la parte que asegura el accesorio. Para obtener información sobre los tipos de archivos adjuntos, consulte “Tipos de archivos adjuntos” a continuación. |
■Las tres dimensiones básicas de las cadenas
El paso, el diámetro del rodillo y el ancho enlace interno se denominan las tres dimensiones básicas de una cadena de rodillos. Cuando estas dimensiones son iguales, la cadena de rodillos y el piñón son dimensionalmente compatibles.
Ver los tipos de archivos adjuntos en detalle
Los accesorios son piezas para fijar los accesorios de transporte a las cadenas. Pueden instalarse con la distancia deseada entre eslabones.
Accesorio estándar
Este es un accesorio económico y versátil.
Un archivo adjunto
Tiene una cuchilla en un lado.
Se denominan A1, A2 y A3 según el número de agujeros para los tornillos.
Anexo A1

Anexo A2

Adjunto A3

Accesorio K
Tiene alas en ambos lados.
Se llaman K1, K2 y K3 dependiendo del número de agujeros para los tornillos.
Accesorio K1

Accesorio K2

Accesorio K3

Anexo GA
Este tipo tiene orificios para tornillos en un lado de la placa.
Se llaman GA2 y GA4 dependiendo del número de agujeros para los tornillos.
Accesorio GA2

Accesorio GA4

Accesorio dedicado
Accesorios para aplicaciones específicas.
Enlaces profundos

Rodillo superior

rodillo exterior

Para el flujo

Accesorios especiales (cadena transportadora Plus α)
Una variación del accesorio especial.
Con accesorio SA

Un tipo con una cuchilla vertical en un lado.
Accesorio SK incluido

Un tipo con cuchillas verticales en ambos lados.
Accesorio CA2 incluido

Instalación de red
Para una instalación de lamas sin huecos
Accesorio AA3 incluido

Tipo potente que sujeta los accesorios.
Accesorio AR2 incluido

Rigidez de flexión mejorada del accesorio A
(con nervaduras de refuerzo)
Accesorio MG2 incluido

Se puede utilizar con un tipo de plantilla de montaje.
Con accesorio AS2

Raspador y montaje de vuelo
Accesorio AF2 incluido

Raspador profundo y montaje de vuelo
Accesorio WSA0 incluido

Evita que los artículos transportados se derramen
Con pasador de extensión

Se puede fijar al extremo de un alfiler.
(Formato: EN)
Con pasador de retención

Montado directamente en el pasador de conexión
Instalación de redes, etc.
(Formato: TN)
Con placa superior

Sin rayones en los artículos transportados
(Formato: TP)
Con rodillo de carro

Para largas distancias horizontales
(Formato: TRO)
Con rodillo exterior

Soportando cargas pesadas
(Formato: RO)
Con zapata guía

Previene la vibración lateral
(Formato: GS)
Con rodillo guía

uso horizontal
(Formato: GR)
Con empujador esterilizado

Empujar y transportar
(Formato: KD)
Con rodillo para empujadores

Empujar y transportar objetos redondos
(Formato: RD)
Con empujador basculante (tilting dog)

Almacenamiento con cinta transportadora
(Formato: CD)
Con empujador basculante (tilting dog) con rodillo

Almacenamiento de objetos redondos
(Formato: RCD)
Con empujador escamoteable (Ducking Dog)

Deje el artículo transportado en su posición designada
(Formato: DD)
Tipo de rodillo
cadena transportadora de gran tamaño se presentan en tres tipos básicos de rodillos según la aplicación.
| rodillo básico cadena transportadora de gran tamaño | ||
|---|---|---|
| Rodillo R | Rodillo F | Rodillo S, M, N |
![]() |
![]() |
![]() |
|
|
Ayuda a reducir los golpes y el desgaste cuando los piñones entran en contacto.
|
Obtenga más información sobre cómo guiar los rodillos
A continuación se muestran ejemplos de métodos de guía de rodillos para los vía de retorno para garantizar un funcionamiento suave de cadena transportadora de gran tamaño.
Ejemplo de método de guía
| Cadena tipo rodillo R (Rodillo S) | Cadena de rodillos F | Cadena con rodillo exterior | |
|---|---|---|---|
| Transportador | ![]() |
![]() |
![]() |
| vía de retorno | ![]() |
![]() |
![]() |
Precauciones de seguridad
Nunca suelde piezas adicionales a una cadena ensamblada, ya que esto puede provocar que la cadena se doble o se tuerza debido a la distorsión de la placa y también puede provocar que las piezas pierdan dureza o se vuelvan quebradizas debido al calor.
Lista de productos cadena transportadora de gran tamaño
- De propósito general y potente
- Resistencia ambiental
- Rodillo de Cojinete
Cadena transportadora - Transporte de cemento
- Equipos de acero
- biomasa
- Instalación de Eliminación de Residuos
- Industria Alimentaria
- Planta de tratamiento de agua
- Industria automotriz
- Otros usos especiales
- Equipos aplicados
Accesorios
Cadena transportadora de gran tamaño y alta resistencia (cadena transportadora con rodillos de rodamiento)
cadena transportadora con rodillos de rodamiento tiene una estructura única con cojinete cilíndrico en su interior, lo que reduce la resistencia al funcionamiento de la cadena, mejora significativamente la carga admisible del rodillo y prolonga la vida útil entre el buje y el rodillo.
Esto permite lograr mejoras que eran difíciles de conseguir con las cadenas transportadoras convencionales, como "mayor eficiencia", "menores costes", "supresión de fenómeno de deslizamiento por fricción *" y "mayor vida útil de los rodillos y rieles".
Además de las especificaciones estándar, también ofrecemos especificaciones resistentes al polvo, especificaciones sin lubricación, serie libre de lubricación resistente al agua, etc., para que pueda elegir el modelo que mejor se adapte a sus necesidades.
*La cadena se mueve y se detiene repetidamente aunque la unidad motriz esté funcionando continuamente.
También ofrecemos prácticos eslabones de conexión, eslabón con cierre de tornillo que se pueden cortar y conectar y desconectar fácilmente con una llave dinamométrica.
1. Estructura de rodillos de apoyo
2. Función de los rodillos de apoyo
- - Resistencia reducida al funcionamiento de la cadena (1/3 de los productos de uso general)
- - Aumento significativo de la carga admisible del rodillo
3. Efecto de los rodillos de apoyo
- -Reducción de la tensión de la cadena y de la potencia necesaria
- ・Evita sacudidas durante operaciones longitud del transportador y lentas
- - Se reducen los problemas de rotación de los rodillos y el desgaste de los rieles.
- - Mayor vida útil (entre el buje y el rodillo)
- ・Reducción de las emisiones de CO2 y de las facturas de electricidad
Cadena transportadora con rodillos de rodamiento Serie Estándar
Número de modelo RF□□□□□BR・BF-DT・AT~
Nuestra estructura única con cojinete cilíndrico dentro de los rodillos permite el funcionamiento suave de cadenas transportadoras de uso general (Serie DT).
Tiene una vida útil aproximadamente 5 veces más larga.
- - La potencia del motor requerida se puede reducir aproximadamente en 1/3 y el tamaño de la cadena se puede reducir en 2 tamaños.
- -Contribuye a reducir el coste total de la instalación.
- - Las dimensiones son las mismas que las del rodillo R y el rodillo F de la cadena transportadora RF.
- Temperatura ambiente: BR, BF: -20℃ a 80℃
Tamaño
De RF03 a RF36 toneladas
Para tamaños en pulgadas,
contáctenos.
Tipo de archivo adjunto
A1, A2, A3, K1, K2, K3
Tipo de rodillo
Rodillo BR, rodillo BF
cadena transportadora con rodillos de rodamiento resistente al polvo
Número de modelo RF□□□□□DBR・DBF-DT・AT~
Gracias a su estructura laberíntica y a sus juntas, esta cadena transportadora es menos susceptible a la entrada de polvo que cadena transportadora con rodillos de rodamiento estándar.
- - La estructura laberíntica y el sellado dificultan la entrada de polvo, y en ambientes polvorientos la vida útil es tres veces mayor que la especificación estándar.
- -Existen dos tipos de rodillos: DBR y DBF.
- ・使用雰囲気温度:-10℃~80℃
Tamaño
De RF10 a RF36 toneladas
Para tamaños en pulgadas,
contáctenos.
Tipo de archivo adjunto
A1, A2, A3, K1, K2, K3
Tipo de rodillo
Rodillo DBR, rodillo DBF
cadena transportadora con rodillos de rodamiento serie estándar libre de lubricación
Número de modelo RF□□□□□EBR・EBF-DT・AT~
Entre el casquillo y el rodillo se utilizan cojinete cilíndrico especiales con propiedades autolubricantes, por lo que la parte del rodillo
Puede utilizarse sin lubricación y no requiere aceite adicional.
- -Existen dos tipos de rodillos: EBR y EBF.
- ・使用雰囲気温度:-20℃~50℃
- *Tenga en cuenta que carga máxima admisible difiere de la de la serie estándar. La carga admisible del rodillo es la misma.
Tamaño
De RF03 a RF36 toneladas
Para tamaños en pulgadas,
contáctenos.
Tipo de archivo adjunto
A1, A2, A3, K1, K2, K3
Tipo de rodillo
Rodillo EBR, rodillo EBF
cadena transportadora con rodillos de rodamiento cadena completemente libre de lubricacion
Número de modelo RF□□□□□AEBR・AEBF-DT・AT~
No se requiere aceite adicional entre el pasador y el buje ni entre el buje y el rodillo.
- - En el interior del rodillo se instalan alternativamente rodillos de acero y cojinete cilíndrico especiales.
Además, al prensar y sellar un lubricante sólido en la superficie interna del buje, no se requiere lubricación adicional entre el pasador y el buje ni entre el buje y el rodillo. - -Existen dos tipos de rodillos: AEBR y AEBF.
- Tenga en cuenta que carga máxima admisible difiere de la de la serie estándar. La carga admisible del rodillo es la misma.
- ・使用雰囲気温度:-20℃~50℃
Tamaño
De RF05 a RF26 toneladas
Para tamaños en pulgadas,
contáctenos.
Tipo de archivo adjunto
A1, A2, A3, K1, K2, K3
Tipo de rodillo
Rodillo AEBR, rodillo AEBF
cadena transportadora con rodillos de rodamiento serie libre de lubricación resistente al agua
Número de modelo RF□□□□□WEBR・WEBF-GS~
Al colocar alternativamente rodillos de acero inoxidable y cojinete cilíndrico especiales dentro del rodillo, se puede utilizar en un entorno donde salpica agua.
Puede utilizarse sin necesidad de repostar combustible adicional.
- -Existen dos tipos de rodillos: WEBR y WEBF.
- ・使用温度範囲:0℃~50℃
Tamaño
De RF03 a RF36 toneladas
Para tamaños en pulgadas,
contáctenos.
Tipo de archivo adjunto
A1, A2, A3, K1, K2, K3
Tipo de rodillo
Rodillo WEBR, Rodillo WEBF















