Otros piñones dedicados

- Disponemos de una gama de piñones específicos.
- Podemos satisfacer diversas necesidades, como piñones BS/DIN y piñones limitador de par.
- *Piñones de cadena BS: productos estándar BS/DIN (tamaños de cadena aplicables: RF06B a RS16B)
- * Piñón limitador de par: Superficie de fricción del elemento central acabada (tamaños de cadena aplicables: RS40 a RS100)
piñón de cadena BS
- Las cadenas de rodillos estándar BS (estándar europeo) requieren piñones BS especiales.
(No se pueden utilizar piñones RS estándar JIS debido a las diferentes dimensiones de ancho de diente y diámetro exterior). - Dado que se trata de un producto fabricado bajo pedido, también podemos adaptarnos a tamaños no incluidos en la lista de dimensiones, especificaciones de endurecimiento de la punta de los dientes y mecanizado del orificio del eje. Póngase en contacto con nosotros para obtener más información.
- También podemos trabajar con tamaños no incluidos en la lista de dimensiones (p. ej., 20B, 56B, etc.). Póngase en contacto con nosotros para obtener más información.
Dimensiones y especificaciones
Nota: Al seleccionar las especificaciones de la rueda dentada
Debe seleccionar un piñón compatible con su entorno operativo y las especificaciones de la cadena que utiliza. Para obtener más información, consulte la tabla de compatibilidad de cadenas y piñones.
El orificio del eje es un orificio orificio piloto, por lo que deberá mecanizarlo usted mismo antes de usarlo. Si necesita un producto con el orificio del eje mecanizado, haga clic aquí.
Piñón limitador de par
- En el caso de limitador de par, que son protector mecánico, el acabado de la superficie de fricción del elemento central es importante para una detección de sobrecargas precisa y fiable.
- Los piñones limitador de par han sido tratados especialmente para lograr un acabado superficial ideal con una rugosidad superficial mínima.
Ejemplo de visualización del número de modelo
| RS40 | - | 1 | A | 21T | - | CM | 30 |
| | tamaño |
| número de hilos |
| Tipo de buje |
| Número de dientes |
| | |
| Diámetro del orificio del eje terminado d |
||
| Piñón limitador de par | |||||||
| cadena No. |
RS40 | RS50 | RS60 | RS80 | RS100 |
|---|---|---|---|---|---|
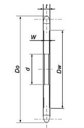
| W | 6.5 | 8.0 | 10.5 | 13.5 | 16.0 |
| t | 7.3 | 8.9 | 11.9 | 15.0 | 18.0 |
- Condiciones de uso: Ancho del piñón > Ancho del casquillo limitador de par
(No se puede utilizar aunque las dimensiones sean las mismas) - -Las demás dimensiones son las mismas que las del piñón estándar tipo 1A.
- ・Para d y Dw, consulte la "Tabla de compatibilidad limitador de par".
- ・d está terminado con H7.
*Asegúrese de consultar el catálogo limitador de par para conocer las dimensiones de cada pieza.
*Al realizar el pedido, asegúrese de especificar limitador de par.
Tabla de compatibilidad limitador de par
Rango de piñones compatibles dx Dw
RS40
| Número de dientes | 16 | 17 | 18 | 19 | 20 | 21 | 22 | 23 | 24 | 25 | 26 | 27 | 28 | 30 | 32 | 34 | 35 | 36 | 38 | 40 | 42 | 45 | 48 | 50 |
|---|---|---|---|---|---|---|---|---|---|---|---|---|---|---|---|---|---|---|---|---|---|---|---|---|
| TL200 | 30x53 | |||||||||||||||||||||||
| TL250 | 41x68 | |||||||||||||||||||||||
| TL350 | 49x92 | |||||||||||||||||||||||
RS50
| Número de dientes | 16 | 17 | 18 | 19 | 20 | 21 | 22 | 23 | 24 | 25 | 26 | 27 | 28 | 30 | 32 | 34 | 35 | 36 | 38 | 40 | 42 | 45 | 48 | 50 |
|---|---|---|---|---|---|---|---|---|---|---|---|---|---|---|---|---|---|---|---|---|---|---|---|---|
| TL250 | 41x68 | |||||||||||||||||||||||
| TL350 | 49x92 | |||||||||||||||||||||||
| TL500 | 74x132 | |||||||||||||||||||||||
RS60
| Número de dientes | 16 | 17 | 18 | 19 | 20 | 21 | 22 | 23 | 24 | 25 | 26 | 27 | 28 | 30 | 32 | 34 | 35 | 36 | 38 | 40 | 42 | 45 | 48 | 50 |
|---|---|---|---|---|---|---|---|---|---|---|---|---|---|---|---|---|---|---|---|---|---|---|---|---|
| TL350 | 49x92 | |||||||||||||||||||||||
| TL500 | 74x132 | |||||||||||||||||||||||
| TL700 | 105x184 | |||||||||||||||||||||||
RS80
| Número de dientes | 16 | 17 | 18 | 19 | 20 | 21 | 22 | 23 | 24 | 25 | 26 | 27 | 28 | 30 | 32 | 34 | 35 | 36 | 38 | 40 | 42 | 45 | 48 | 50 |
|---|---|---|---|---|---|---|---|---|---|---|---|---|---|---|---|---|---|---|---|---|---|---|---|---|
| TL500 | 74x132 | |||||||||||||||||||||||
| TL700 | 105x184 | |||||||||||||||||||||||
RS100
| Número de dientes | 16 | 17 | 18 | 19 | 20 | 21 | 22 | 23 | 24 | 25 | 26 | 27 | 28 | 30 | 32 | 34 | 35 | 36 | 38 | 40 | 42 | 45 | 48 | 50 |
|---|---|---|---|---|---|---|---|---|---|---|---|---|---|---|---|---|---|---|---|---|---|---|---|---|
| TL700 | 105x184 | |||||||||||||||||||||||
*Cuando utilice TL250 o TL350 con piñón RS40, compruebe el ancho del casquillo.
Podemos adaptar piñones que coincidan con limitador de par. También podemos adaptarnos a otras dimensiones especiales.
